Dans les premières heures du 1er juin 2009, l’Airbus A330 assurant le vol Rio-Paris AF447 s’abîmait dans l’Atlantique Sud avec 228 personnes à son bord. Une opération spectaculaire de récupération de l’épave, qui a été localisée par 3900 mètres de fond, est actuellement en cours. Si elle est couronnée de succès, elle devrait livrer les éléments d’information permettant de confirmer ou d’infirmer le scénario qui a été élaboré par les enquêteurs du Bureau d’Enquêtes et Analyses (B.E.A): celui d’un givrage des sondes Pitot de l’avion, provoquant une perte des informations de vitesse, perte conduisant à un décrochage de l’avion et à sa chute brutale (Source: Le Figaro du 5 avril 2010).
Que sont donc ces sondes Pitot qui auraient ainsi pu être aussi funestes ? Si j’ai eu envie de vous faire partager la réponse à cette question, c’est parce qu’elle vient à point pour fournir une illustration éclatante du principe de conservation de l’énergie auquel j’ai consacré une page dans ce blog très récemment (se reporter à : L’énergie – 3 – Principes fondamentaux).
C’est aussi parce c’est une occasion unique de faire découvrir à tous ceux qui n’ont jamais eu l’occasion de lire une ligne traitant de mécanique des fluides, ce qui est généralement considéré comme le principe fondateur de cette discipline. Un principe qui date qui plus est de 1738 ! C’est dire qu’on va être en pleine histoire des sciences…et de l’actualité en même temps !
Qui était ce Pitot ? Un pur autodidacte, Henri de son prénom, né en 1695 à Aramon dans le Gard. Très jeune, il découvre par hasard les mathématiques et les sciences physiques, se prend d’une vive passion pour ces disciplines, lit, comprend, assimile tout ce qu’il lit, monte à Paris en 1723 et devient assistant du grand physicien Réaumur. Il est nommé pensionnaire géomètre de l’Académie des Sciences en 1733, puis deviendra superintendant du Canal du Midi. Il meurt à Aramon en 1771 en laissant une oeuvre assez considérable, de laquelle a survécu jusqu’à aujourd »hui l’instrument de mesure connu sous le nom de tube de Pitot.
Pour comprendre vite de quoi il s’agit, remontons à l’article que Pitot publie en 1732 sous le titre: « Description d’une machine pour mesurer la vitesse des eaux courantes, et le sillage des vaisseaux ».
(source: Humbert Pierre. L’œuvre mathématique d’Henri Pitot.. In: Revue d’histoire des sciences et de leurs applications. 1953, Tome 6 n°4. pp. 322-328)
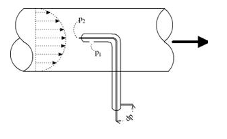
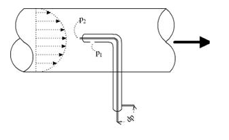
Si on veut comprendre clairement le principe appliqué pour la première fois par Pitot en 1732, considérons la situation on ne peut plus simple suivante:
Un réservoir plein d’eau est muni à sa base d’un tuyau de vidange disposé horizontement. Ce tuyau est obturé à son extrémité. De plus, on a équipé ce tuyau d’un tube branché verticalement sur un orifice percé dans la paroi du tuyau. Cet ensemble constitue donc un seul et unique récipient. l’eau y est au repos. On observe donc deux surfaces libres horizontales, l’une dans le réservoir, la seconde dans le tube.
Si pour mesurer la cote h de la surface libre dans le réservoir ou dans le tube, on prend comme origine l’altitude de l’axe du tuyau horizontal, le résultat h de cette mesure va avoir une signification physique importante. Cette cote h comptabilise (en Joules/Newton) l’énergie potentielle par unité de poids stockée dans la quantité d’eau pour le moment au repos à cette cote.
Si maintenant, on crée un écoulement dans le tuyau en enlevant le bouchon qui l’obturait, voici ce qu’on va constater:
1) Maintenant le tuyau horizontal débite de l’eau, disons une certaine quantité q m3/s. Cet écoulement d’eau passant par seconde par une surface transversale de S m2 peut donc être caractérisé par un ratio unitaire q/S qui est une vitesse V en m/S. On appelle V la vitesse moyenne de l’écoulement.
2) Le niveau de l’eau dans le tube vertical a baissé. De la cote h, il est passé à une cote plus basse d’une certaine quantité hc. Vous êtes là témoins d’un phénomène de transformation d’énergie. Une partie hc de l’énergie potentielle disponible par unité de poids h a disparu en tant qu’énergie potentielle pour se transformer en une autre forme d’énergie. Qui correspond à l’apparition de l’écoulement de vitesse moyenne V. C’est ce qu’on appelle de l’énergie cinétique. Pour une masse m animée d’une vitesse V, vous savez que l’énergie cinétique correspondante vaut (mV**2)/2. Par unité de poids, cela conduira donc à : hc = (mV**2/2) / mg , soit V**2/2g
(Nota: Prenez bien garde à ce que la notation que vous lisez ici, V**2, signifie V au carré. L’éditeur WordPress n’a pas prévu de format avec exposant…)
Bien entendu, Pitot n’a pas pu expliciter son idée de cette façon. Mais il a clairement identifié la relation directe entre la vitesse du courant d’eau à mesurer et la hauteur du niveau atteint dans le tube plongé dans ce courant:
Mais l’idée était là, et l’instrument de mesure plus très loin. Pitot avait clairement indiqué que son tube indiquait « La hauteur d’où l’eau aurait dû tomber pour acquérir la vitesse qu’elle aura dans ce moment et dans ce lieu. » Il avait donc inventé ce qu’on appelle aujourd’hui une sonde de pression totale, c’est-à-dire une sonde mesurant la somme de toutes les formes d’énergie mécanique disponibles à l’endroit où on place cette sonde. Ce qui veut dire que la quantité mesurée était celle-ci:
La constance de cette somme de trois formes d’énergie mécanique exprimant la conservation de cette énergie dans les écoulements permanents de fluides incompressibles est connu sous le nom de théorême de Bernoulli, publié par Daniel Bernoulli en 1738.
Ne restait donc plus qu’à compléter le dispositif par une seconde sonde indiquant seulement la somme des deux premiers termes, c’est-à-dire les termes statiques (ce qui veut dire indépendants de la vitesse). Le troisième terme, qui donne la vitesse cherchée, s’obtient alors par différence des indications pression totale moins pression statique
Une telle sonde statique est constituée par un simple tube branché à la paroi. En un point de la paroi la vitesse du fluide est en effet nécessairement nulle (le contraire réaliserait un gradient de vitesse infini, ce qui est physiquement impossible).
Un Tube de Pitot a donc l’allure définitive suivante:
Une réalisation pour l’industrie aéronautique aura l’allure suivante:
Peu d’inventeurs du XVIIIe siècle peuvent se targuer de voir leurs idées toujours d’actualité 300 ans plus tard ! Maintenant, il est peut-être temps de se demander pourquoi des solutions moins vulnérables aux aléas de l’environnement du vol n’ont pas été recherchées ? En effet, les vols en haute altitude au ras de la troposphère, par des températures voisines de -50°C, mais avec encore des traces d’humidité dans l’atmosphère, ne permettent pas d’éliminer totalement les risques de givrage des prises de pression. Auquel cas les données vitesses sur lesquelles repose la mécanique du vol de l’avion peuvent perdre toute signification, au risque d’un décrochage (perte de la portance, et donc chute brutale).
Le problème de la localisation instantanée d’un satellite ou d’un missile sur sa trajectoire, et donc le calcul de la vitesse quasi-instantanée de ces objets est pourtant réalisable et réalisé ?








Bonjour
j’ai apprécié entre autres, votre article sur les tubes de Pitot; concernant la situation à Fukushima daiichi la presse n’en parlant plus j’ai consulté le bulletin n°5 de l’IRSN qui semble assez clair.
Je ne pourrai pas assister au prochain cours de méteorlogie
bien cordialement
M Piacentino
Soyez tranquille, je n’ai pas abandonné le suivi des conséquences de Fukushima. Je ferai un point prochainement.
Peut-être qu’un aéronef préfère disposer de mesures indépendantes faites à son bord et ne pas dépendre d’une localisation par satelite ?
Il n’empèche que les deux peuvent se compléter.
Sans doute, mais juste pour faire mieux comprendre, je vais oser une comparaison un peu grossière…Jusqu’à il n’y a pas très longtemps, la qualité de ma navigation, et donc ma sécurité, dépendait d’une petite roue en plastique (le capteur du loch) pour mesurer la vitesse sur l’eau de mon voilier (ce qui me permettait alors d’avoir confiance dans ma position estimée par rapport aux cailloux bretons…). Problème, ce petit appendice mobile dépassant légèrement de la coque n’arrêtait pasde salir (algues, berniques diverses, etc) et l’incertitude sur la mesure d’augmenter. Depuis l’avènement du GPS affichant simultanémént latitude, longitude, et vitesse moyenne calculée sur un temps de l’ordre de 15 secondes, ma sécurité a été multipliée par un facteur très important. Evidemment, la vitesse moyenne de mon bateau c’est 5 noeuds et celle d’un Airbus 450 ! Mais les moyens qu’on peut affecter à une telle mesure pourraient certainement être dans le même rapport ?
Justement, le problème de l’avion est sa vitesse, non pas par rapport au sol mais par rapport à l’air ambiant. je ne sais pas si un satellie peut déterminer avec une précision suffisante la vitesse de l’air en un point donné de l’atmosphère, auquel cas la vitesse réelle de l’avion et sa portance peuvent être calculées.
Bon vent !
Exact , Eric. La première justification des sondes de Pitot, c’est qu’elles indiquent la vitesse relative par rapport à l’air. Et on sait que les vols transatlantiques recherchent (ou évitent) la vitesse d’entraînement fournie par le jet-stream, ce qui peut représenter plus de 50 noeuds ! La vitesse absolue par rapport au sol est donc souvent bien différente de celle qui crée la portance… J’ai sans doute écrit trop vite ! Merci de corriger…
Comme espéré, les deux boîtes noires (qui sont oranges) doivent être arrivées à Paris à l’heure qu’il est. Quelle prouesse !
Ma question reste posée : un satellite peut-il déterminer acec suffisamment de précision la vitesse de l’air (valeur et direction ) en un endroit donné de l’atmosphère, disons à une centaine de mètres près ?
J’en parlerai avec mon commandant de bord de frère ! Mais la description qu’il m’a faite des alarmes observées dans un cockpit d’Airbus me laisse perplexe. L’informatique permet beaucoup de choses mais cela dépend quand même fondatalement de la programmation humaine !
Exemple retenu : « alerte mineure sur moteurs » Réaction prévue par l’équipage : aucune ! Sauf qu’il ya bien quelque chose de pas normal (mais quoi ?) et l’équipage le découvrira plus tard…
La réponse à la première question est clairement non. C’est pourquoi en météorologie, à partir de données acquises grâce à des réseaux de satellites (températures, pressions, humidité en chaque point(x, y, z) à un temps initial t0, il faut ensuite faire d’énormes calculs de mécanique des fluides pour résoudre les équations décrivant les mouvements de l’atmosphère, et enfin accéder à la description des mouvements.
Le commentaire qui suit sur le sujet de la gestion des alarmes dans la discipline qu’on appelle le controle-commande des processus, met le doigt sur une problématique connue. On surveille tant de paramètres (des milliers dans une grande raffinerie ou bien une centrale électrique), que le franchissement momentané par un seul de ces nombreux paramètres d’un seuil surveillé, bien que donnant lieu à une alarme (un clignotant sur un tableau d’affichage ou un écran), n’autorise en rien à intervenir, au risque, faute d’évaluation de la cause de l’alarme, de faire plus de mal que de bien. Comme vous le dites, il faut attendre que la situation évolue, pour éclairer la compréhension de ce qui se passe. mais tout ceci est normalement prévu dans des procédures d’exploitation (énormes volumes) qu’il est obligatoire de suivre…
Eh oui ! Le problème est bien là : le volume des consignes d’urgence lié à la multiplication des capteurs. Pour avoir moi-même participé à la mise au point de tableau de bord d’installations complexes, j’ai toujours été étonné de la confiance apportée par les « instrumentistes » à leurs appareillages.
Un capteur mesure une grandeur ; il possède une fiabilité interne généralement très élevée mais il est impossible de prévoir toutes les raisons externes qui pourraient altérer la fiabilité de la mesure. Souvent on double les capteurs ce qui répond au problème de fiabilité interne mais pas aux altérations externes. Dans ce dernier cas les deux capteurs donneront probablement les mêmes fausses indications.
Afin de faciliter le travail des « conducteurs d’installlations, de la centrale nucléaire à la simple automobile », il me semble préférable de limiter volontairement le nombre d’informations « sensibles » à leur diposition et surtout de faire en sorte que ces informations proviennent de plusieurs origines différentes et soient croisées entre elles, afin d’éliminer les fausses indications données par un type de capteur perturbé pour une raison non déterminée. Ceci devrait permettre d’obtenir des manuels de consignes plus accessibles.
Pour l’anecdote, et sans qu’il n’y ait aucun risque humain, je me rappelle d’un TGV tombé en panne en Belgique à 30 km de Bruxelles. Nous avons été plusieurs a observé le machiniste qui a vite appris par radio qu’une loco diesel de secours viendrait le tracter. Problème : les attelages sont incompatibles et cela nécessite du machiniste un certain nombre d’opérations préalables pour rendre cet attelage possible. Le manuel existe, présent dans sa cabine : 400 pages en multilingue sans doute parfait pour son rédacteur mais quel casse tête pour le machiniste malgré ses contacts radio (et je ne parle pas de son état d’énervement:): en 1 h 00 il ne s’en est pas sorti. Nous, nous avons embarqué dans un autre TGV…et fait ces 30 km avec 800 personnes debout dans les couloirs, bonjour l’ambiance !